新闻动态
2026-02-22 16:53 点击次数:95

12月31日,中国音乐文章权协会(简称“音著协”)发文称,腾讯音乐文娱集团因未经许可使用音著协处分的音乐作品,再被法院判决认定侵权。
截止2024年12月19日,就音著协诉广州酷狗规画机科技有限公司(以下称“酷狗音乐”)侵害音乐作品信息荟萃传播权纠纷一案,音著协收到了广州常识产权法院的二审判决书(2024粤73民终404、405、406、408、409、410、1534-1537、1539、1540号),一都判决驳回酷狗音乐上诉,保管原判。
一审法院认定:酷狗音乐侵略了音著协对涉案歌曲享有的信息荟萃传播权,照章应当承担相应的侵权职守。
对于抵偿法式,一审法院以为,音著协是经国度版权局认真批准成立的我国独一音乐作品文章权集体处分组织,照章对音乐作品的文章权实验集体处分。跟着音乐产业的发展,在数字音乐行业,侵权资本和本领门槛越来越低,文章权东谈主对我方作品的适度力进一步下落。酷狗音乐算作国内主流音乐平台,本应积极参与构建健康、和谐的数字音乐产业生态圈,建造相宜商场礼貌的数字音乐版权授权和运营形状,但却在与音著协的谐和左券到期后,未经许可使用由音著协进行集体处分的多首歌曲,主不雅罪戾较判辨。一审法院就上述案件,判决酷狗音乐向音著协抵偿经济耗费统统近22万元东谈主民币。

图片起首:天眼查
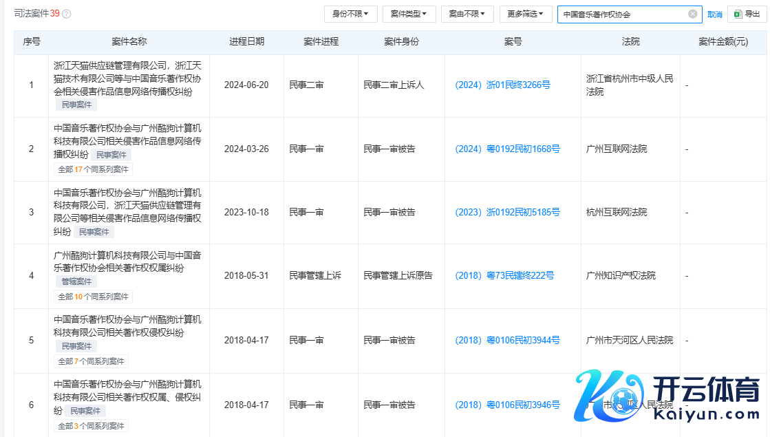
南财快讯记者瞩目到,酷狗音乐除了被音著协拿告状讼外,同业业公司也向其拿告状讼。天眼查泄漏,网易云音乐屡次向酷狗音乐拿告状讼,触及事项包括文章权权属纠纷、侵害作品信息荟萃传播权纠纷等。

图片起首:天眼查
不外,腾讯音乐与网易云音乐的恩仇由来已久,11月25日,网易云音乐在新浪微博发布一篇公开信,喊话QQ音乐罢手“抄袭式更新”,并对比了QQ音乐和自家居品在居品功能、界面缱绻上的重迭。
同属腾讯音乐文娱集团的酷狗音乐在微博隔空抗争了网易云音乐:“播放器配景的DIY功能不是我先作念的么”“我这个算什么式立异?”暗讽网易云音乐也并不“清白”。
(声明:文章本色仅供参考尊龙凯时体育,不组成投资提议。投资者据此操作,风险自担。)
Powered by 尊龙凯时人生就是博·(中国)官方网站 @2013-2022 RSS地图 HTML地图